
中国好创意大赛简介
中国好创意暨全国数字艺术设计大赛,英文名称: China creative challenges contest,简称“ 中国创意挑战大赛 ”,是入选教育部中国高等教育学会发布的《全国普通高校学科竞赛分析报告》赛项,是我国第一个以数字艺术、数字设计、数字创意、数字媒体以及数字技术创新领域各专业综合类规模大、跨学科、多专业、参与院校多、影响广泛的权威赛事,更是国内第一个将赛事理念上升至哲学高度的赛事,同时是第一个免费为参赛作品提供版权保护与存证的赛事,也是全国第一个对投稿数量作出明确限制的赛事。在科技快速迭代的时代,中国好创意大赛希望大学生,以创意为笔,以匠心为墨,创作出内涵丰富,具有积极价值导向的优质作品,普及大众的审美能力,提升全民的文明程度,拓展民众的认知境界,倡导民众的大爱精神,促进全民的内心向善。
专项赛背景
本次专项赛联合韩中经济发展研究所共同举办“非遗出海·智创未来”人工智能生成专项赛。以数字创意为桥梁、以智能技术为手段,推动中华非物质文化遗产从本土传承转向全球传播,从文化符号升级为国际话语。通过动画、视频、插画、IP 形象等国际化、年轻化载体,重构非遗的现代表达与海外叙事方式,提升中华文化亲和力与影响力;同时鼓励 AI 等新技术赋能传统文脉创新转化,搭建非遗走向世界的数字传播平台,培养兼具文化自信、国际视野与数字创造力的复合型人才,为非遗可持续传承与海外高质量传播提供新路径、新动能。
大赛主题
非遗出海・智创未来人工智能生成专项赛
组织单位
主办单位:
中国好创意暨全国数字艺术设计大赛组织委员会
韩中经济发展研究所
承办单位:
东亚创新设计研究学会
亚太商经学会
支持院校:
(支持单位名单持续更新中....... )
征稿对象
国内外高等职业院校、普通高校在校大学生、研究生、教师、社会类参赛选手、特邀团队等均可参加。
*免费参赛;
*参赛选手可以任选一个或几个命题参赛;
*专项赛免费参赛,直接进入国赛评选,无需院校管理员审核,作品数量不限。
赛道设置及参赛规范
所有赛道均需原创,鼓励运用AIGC等智能技术进行辅助,但需体现智力创作过程内容,并确保成果不存在侵权可能。
(一)人工智能生成动画类
内容方向:非遗主题动画短片、非遗故事演绎、非遗技艺科普动画、非遗 IP 动态动画等。
形式要求:时长 30 秒—3分钟,画质清晰,声音正常,适合国内外平台传播。
(二)人工智能生成视频类
内容方向:非遗纪实短片、非遗创意短视频、非遗文化推广片、非遗传承人纪录、非遗出海主题宣传片等。
形式要求:横屏竖屏均可,时长 30秒 —3 分钟,画面稳定、内容完整、叙事清晰。
(三)人工智能生成漫插类
内容方向:非遗主题插画、非遗故事漫画、非遗民俗绘本、非遗文化海报、非遗主题视觉创作等。
形式要求:单幅、组图、条漫、绘本均可,构图完整、风格鲜明,适合海外视觉审美。
(四)人工智能生成IP形象类
内容方向:非遗元素原创 IP 形象、非遗技艺拟人化 IP、非遗地域文化 IP、非遗吉祥物设计等。
形式要求:含主形象、三视图、核心延展、应用场景示意,结构完整、辨识度高、可商业化落地。
通用评审规则
作品须为原创,严禁抄袭、盗用、一稿多投,因版权问题产生纠纷由参赛者自行承担责任。内容积极健康,尊重非遗文化本源,不得歪曲、丑化、过度娱乐化非遗内容。作品需符合海外传播规范,无政治敏感、宗教禁忌、地域歧视等内容。
1、文化传承:非遗元素运用准确,文化内涵表达深刻。
2、创意创新:设计新颖、表达独特,融合现代审美与智能技术。
3、出海适配:国际化表达能力强,易于海外受众理解与传播。
4、技术呈现:作品完成度高,视觉效果精良,AI 应用合理恰当。
5、传播价值:适合社交媒体、海外平台推广,具备流量与文化双重价值。
提交格式规范
动画 / 视频:MP4 格式,分辨率不低于 1080P,大小不超过 2GB。
图片创意 / IP 设计:设计尺寸为A3(297*420mm),分辨率 300DPI,色彩模式RGB/CMYK均可;JPG/PNG 格式,单张不超过 10MB。作品说明以 Word 文档同步提交。
作品提交平台
作品报名与提交平台:https://contest.cdec.org.cn/#/
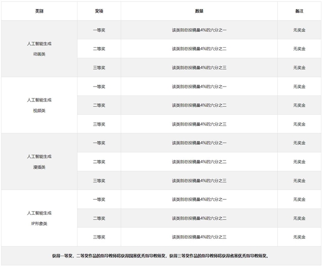
奖项设置

赛程安排
开赛时间:2026年4月15日
截止时间:2026年6月10日下午17:00
结果发布:2026年6月底
展出时间、地点:待定
*请不要集中在最后几天提交,避免网站拥堵。作品在系统关闭时间上传没有成功的,视为无效作品。
*参加现场展览(韩国或中国)的学生或指导教师,不收取参展费用和参会费用,但其所有的差旅、食宿自行承担。
咨询方式
组委会咨询:
师老师:010 89576608 18513190168
(请于工作日8:30-12:00,13:30-17:00拨打咨询)
赛事咨询:
张老师:13122910887
(请于工作日8:30-12:00,13:30-17:00拨打咨询)
参赛注意事项
点击阅读详细参赛须知
(一)作品不得包含违反中华人民共和国法律法规的内容,不得包含涉及与性别、宗教相关的歧视性内容,不得侵犯他人隐私等,如由此引起的相关法律后果均由参赛者承担;
(二)作品必须为原创,集体创作作品参赛需征得主创人员的同意方可投稿。参赛者提交的作品不得侵犯第三方的任何著作权、商标权或其他权利,不得违反相关法律法规和公共道德习俗。凡涉及抄袭、剽窃、损害第三方合法权益等行为,参赛者应承担全部的经济和法律责任,与主办单位、承办单位及组委会无关,并且组委会有权取消其参赛资格(教育部对学术造假一票否决制,如作品涉嫌造假,所在学院将受到严重批评,学科、专业、科研等,均会受到影响,请不要为母校带来负面影响);
(三)作品上请勿出现作者、指导老师、学校名称等信息;
(四)每件作品作者不超过8人,指导老师不超过3人,鼓励跨校合作,但合作院校不超过3所(含本校),最终获奖信息以报名系统填写信息为准;
(五)作品名字最好使用中文,且不多于20个汉字;
(六)同一个作品,只能提交到一个赛道,如果投两个或以上赛道并获奖,组委会将取消这个作品的全部奖项;
(七)参赛作品必须是围绕本简章内命题创作的原创作品,大赛不接受其它赛事的作品;
(八)以上问题组委会接到实名举报,有抄袭、侵权或其他不当行为证据后,将取消入围资格;若为获奖作品,则追回颁发的获奖证书。对赛事造成恶劣影响的,大赛组委会将依法追究其法律责任;
(九)所有投稿作品一经提交,版权归创作者(或其团队共同)所有,主办单位,承办单位拥有对参赛作品进行学术交流、商展、宣传、使用、推广、产业转化代理等权利,包括但不限于对参赛作品进行公开展示、集结出版及其它形式的非商业用途推广、公益性收藏、组织成果转化和商用转化、交易、宣传、展览、复制等;
(十)参赛者需谨慎选用AI工具,确保生成的作品内容版权归用户,AI平台无保留权利、分成等要求;确保参赛作品可用于商用、宣传,无地域及使用场景限制。
(十一)本次比赛按自愿原则参加,赛事期间按民法典风险自担;
(十二)凡投稿者视为认同并遵守本公告的各项条款,组委会保留对本公告各项条款的修订及最终解释权。
正式简章文件下载